您好!歡迎訪問啟東華立石油化工機械設備有限公司官網!
咨詢熱線:0513-83340076

服務支持

服務是提高生產力的關鍵,隨時為您提供幫助。
自清洗過濾器結構特點與應用前景
發布日期:2023-01-10
閱讀量:

【摘要】自清洗過濾器是一種新型的過濾設備,本文介紹了吸污式自清洗過濾器、刷式自清洗過濾器、轉臂式自清洗過濾器和刮盤式自清洗過濾器的工作原理、結構特點。本文還介紹了國外廠家情況及自清洗過濾器在我國的應用前景。

【關鍵詞】 自清洗過濾器 工作原理  結構特點  應用前景
引言
自清洗過濾器與傳統的過濾設備相比是一種新型的過濾設備。自清洗過濾器是將液體中的顆粒在一定條件下自動地過濾清除的分離過濾裝置。
自清洗過濾器與傳統的過濾器相比有如下特點:自動化程度高;壓力損失??;不必進行人工清除濾渣。多數自清洗過濾器在清洗時可以不間斷供水。自清洗過濾器適用于工業、農業、市政、海水淡化過程等的分離過濾。
1、國外廠家情況
以色列有多家自清洗過濾器生產廠,規模最大的公司有兩家:以色列阿米亞德(Am iad )公司和以色列阿科(Arkal)公司。以色列福特馬特(FILTOMAT)過濾有限公司也是一個有名的公司,但現在已成為以色列阿米亞德(Am iad)公司的一個子公司。以色列的自清洗過濾器目前已在世界 8 0 多個國家和地區廣泛應用。以色列政府對水工業的重視促進了以色列自清洗過濾器的發展。美國依靠先進的科學技術也發展了多種自清洗過濾器,有影響的公司有:美國歐銳(Orival)公司、美國全自動過濾器公司(AUTOMATIC?。疲桑蹋裕牛遥樱桑危茫?、美國施羅德(sch roed er)工業公司和美國 RPA 工藝流程技術公司(RPA?。校颍铮悖澹螅蟆。裕澹悖?nologies)。
2、幾種不同清污方式的自清洗過濾器
自清洗過濾器根據清污方式分為如下幾種:吸污式自清洗過濾器、刷式自清洗過濾器、轉臂式自清洗過濾器和刮盤式自清洗過濾器。下面分別介紹:
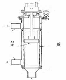
(1)吸污式自清洗過濾器工作原理[1]
過濾過程:污水從過濾器進口進入,然后從里向外通過濾網,比網孔大的雜質被攔截下來并積累在濾網的內表面形成濾餅,這些濾餅同時能夠捕捉水中的一些更細小的雜質。自清洗過程:壓差開關持續地檢測濾網內外的壓差,當達到預設值時將傳遞信號到控制箱啟動清洗循環。過濾器的清洗機構是作螺旋式上下運動的吸污器,它是空心結構,在它的軸線上按一定距離垂直均勻分布著若干個吸污管。吸污器與一個排污閥相通。在排污閥打開時,過濾器內部水壓與外部大氣之間形成的壓差使吸污管產生強勁吸力,水流從濾網外向內反向高速流動將雜質沖下來進入吸污器通過排污閥排出。吸污器由一個連有絲桿裝置的雙向電機驅動,按照固定的轉速作螺旋式的運動,這樣多個吸嘴就能吸遍整個濾網內表面,這個過程大約需要半分鐘。在整個反清洗過程中,系統不斷流。過濾器的整個運行由程序控制器(PLC)來控制完成。圖1 為北京化工大學與唐山陸凱科技有限公司共同研制的吸污式自清洗過濾器結構示意圖。
圖 1 吸污式自清洗過濾器結構示意圖
(2)刷式自清洗過濾器[2]
刷式自清洗過濾器為一種適用于惡劣環境的自清洗過濾器,對于不同的使用要求可配備3500微米-200微米的濾網。過濾器的清洗過程由一個時刻監測過濾網兩側壓差的壓差開關來啟動,通常情況下壓差開關的預設值是0.05Mpa。當過濾器濾網兩側壓差達到預設值時,過濾器將開始自清洗過程,整個自清洗過程包含兩個步驟:打開位于過濾器端蓋上的排污閥;電機帶動濾網內的不銹鋼刷轉動,被濾網所捕捉的雜質被鋼刷刷下并從排污閥排出。整個清洗過程耗時 約20秒,清洗時系統不斷流,過濾器 的整個運行過程由隨機配備的一個控制箱來控制。圖2為北京化工大學與唐山陸凱科技有限公司共同研制的刷式自清洗過濾器結構示意圖。
圖 2 刷式自清洗過濾器結構示意圖
(3)轉臂式自清洗過濾器[3]
轉臂式自清洗過濾器是一種集約化的過濾器,多個濾筒安裝于一個過濾器筒體內,結構緊湊。轉臂式自清洗過濾器用于去除低粘度介質中的固體顆粒。需過濾的介質從內向外流過過濾器的楔形網濾筒,固體顆粒截留在濾筒內側。隨著污染物的增多,過濾器污染側和清潔側之間的壓差增大。若壓差達到設置的觸發壓差便開始自動反沖洗。反沖洗時.齒輪電動機轉動欲清洗濾筒下面的沖洗臂,進入反沖洗狀態的濾筒的原料液流被中斷。反沖洗閥開啟,濾液側和反沖洗管路之間的壓降把一小部分濾液逆向沖入欲清洗的濾筒。聚積在濾筒內側的污染顆粒物被松開并通過沖洗臂沖進反沖洗管路。每個濾筒的反沖洗時間一過,反沖洗閥立即關閉。這樣所有濾筒被依次清洗。所有濾筒都被清洗后,反沖洗循環結束。轉臂式自清洗過濾器可以用來除去工業用水和海水中的固體雜質。轉臂式自清洗過濾器常用于保護重要設備,如冷卻系統、化學和水處理裝置等。圖3為轉臂式自清洗過濾器結構示意圖。
圖 3 轉臂式自清洗過濾器結構示意圖
(4)盤式自清洗過濾器[4]
刮盤式自清洗過濾器不僅可應用于低粘度的含固液體分離,還可以用于高粘度的含固液體分離。工作過程如下:過濾:需過濾流體被壓入過濾器內腔,流體自內而外穿過濾芯,大于過濾元件縫隙的雜質被滯留在濾網的內表面,澄清流體穿過縫隙由出液口排出。自清洗:一個帶有彈簧的清洗圓盤,在濾芯內部上下運動來清除聚集在濾網內表面的濾渣。在清洗圓盤下行過程中,任何殘留的濾渣都被驅至集渣室,從而很容易被徹底清除。在清洗圓盤上行過程中,濾渣從濾網表面被去除。系統工藝流體(帶壓)驅濾渣穿過清洗圓盤至集渣室。圖4為刮盤式自清洗過濾結構示意圖。
圖 4 刮盤式自清洗過濾器結構示意圖
3、自清洗過濾器的應用前景展望
自清洗過濾器在工業方面可應用于:水源水過濾、冷卻水過濾、工藝水過濾,及廢水處理等。自清洗過濾器的應用可提高換熱裝置的效率,可延長軋鋼設備的壽命,可保護膜分離設備的分離膜。
在農業方面可應用于:農業灌溉、草地灌溉、園藝灌溉,對各種灌溉設備(噴頭,滴灌管、霧化噴頭等)提供完善保護。  
自清洗過濾器的發源地是以色列,源于以色列屬于極度缺水的國家。以色列被迫開發了多樣化的水資源管理技術和節水新技術。他們首先發明自清洗過濾器并用于農業噴灌、滴灌并逐漸發展到工業及各行各業。
我國同樣面臨水資源短缺的問題。以海河流域為例:海河流域人口密集,大中城市眾多,流域內有北京、天津,以及石家莊、唐山,海河流域30多萬平方公里, 是11個以色列面積,人均水資源與以色列相當。
石油、化工、鋼鐵業的高速發展,對實行清潔生產也提出了更高的要求。自清洗過濾器在石油、化工、鋼鐵、電力有很多應用,是清潔生產的重要裝備。隨著我國水資源的緊缺、工業的高速發展、環境的惡化,自清洗過濾器必將獲得越來越多的重視。前聯合國秘書長德奎利亞爾曾講到:“過去人類最可怕的是戰爭,未來人類最可怕的是淡水資源的緊缺”。我國的工業水重復利用和再生利用程度較低,用水工藝比較落后, 用水效率較低。這些都預示著自清洗過濾器會在我國有較快的發展。