1、空氣泡沫產生器是一種固定安裝在油罐上,產生和噴射空氣泡沫的滅火設備,當泡沫消防車固定消防泵供給的泡沫混合液流,經輸送管道通過產生器時,形成空氣泡沫,撲滅油類火災。
2、空氣泡沫產生器主要由殼體組、泡沫噴管組和導板組三個部分組成。當泡沫混合液流通過產生器噴嘴時,形成擴散的霧化射流,在其周圍產生負壓,從而吸入大量空氣形成泡沫??諝馀菽ㄟ^泡沫噴管開口導板輸入貯罐內,沿罐壁淌下,平穩地覆蓋在燃燒液面上。


| 型號 | 圖 號 | 標準工作壓力(MPa) | 混合液量 (L/S) |
空氣泡沫量 (L/S) |
玻璃沖破壓力(MPa) |
| PC4 | GKP-25 | 0.5 | 4 | ≥25 | 0.1-0.2 |
| PC8 | GKP-50 | 8 | ≥50 | ||
| PC16 | GKP-100 | 16 | ≥100 | ||
| PC24 | GKP-150 | 24 | ≥150 |
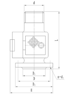
| 規 格 | 安 裝 尺 寸 (毫米) | |||||||
| D | D1 | D2 | d | L | H | n | d1 | |
| 25升 | φ130 | φ110 | φ160 | KG2″ | 216 | 170 | 4 | φ14 |
| 50升 | φ150 | φ125 | φ185 | ![]() |
228 | 190 | 4 | φ18 |
| 100升 | φ200 | φ175 | φ235 | KG3″ | 230 | 210 | 8 | φ18 |
| 150升 | φ225 | φ200 | φ260 | KG4″ | 234 | 260 | 8 | φ18 |
- 上一篇: GTQ系列通氣管
- 下一篇: GYA系列液壓安全閥





